|
Сверлением называется операция изготовления круглых отверстий в сплошном материале обрабатываемой детали при помощи режущего инструмента, называемого сверлом. Увеличение диаметра уже имеющегося в детали отверстия с помощью сверла называется рассверливанием, а выполнение в сплошном материале неглубоких (несквозных) отверстий называется засверливанием. Сверла
По конструкции и характеру выполняемой работы сверла подразделяются на следующие группы: перовые, спиральные, центровочные, кольцевые (рис. 1).
Рис. 1. Сверла Изготовляются сверла из инструментальных углеродистых, легированных или быстрорежущей сталей. В каждой группе сверла могут оснащаться твердосплавными пластинами. Перовые сверлаПеровые или плоские сверла отличаются простотой конструкции, дешевы в изготовлении, могут быть изготовлены самостоятельно, мало чувствительны к перекашиванию в работе. Перовые сверла бывают двусторонние и односторонние; отличие их лишь в форме заточки режущих кромок (рис. 2).
Рис. 2. Перовое сверло: а) для дерева; б) для пластмассы Перовые сверла имеют плоскую режущую часть с двумя режущими кромками,расположенными симметрично относительно оси сверла и образующими угол резания в 45°, 50°, 75°, 90°. Диаметр сверла измеряется по ширине лопатки. Толщина пера у режущих ребер зависит от диаметра сверла и составляет:
Режущие ребра при своем пересечении образуют прямую линию, которая называетсяпоперечной кромкой, или перемычкой. Недостаток перовых сверл заключается в отсутствии автоматического отвода стружки при сверлении, что портит режущие кромки и вынуждает часто вынимать сверло из просверливаемого отверстия. Кроме того, перовые сверла в процессе работы теряют направление и уменьшаются в размерах диаметра при переточке. Спиральные сверла
Рис. 3. Спиральные сверла Спиральные сверла имеют самое широкое применение. Спиральное сверло (рис. 3) представляет собой цилиндрический стержень, рабочая часть которого снабжена двумя винтовыми спиральными канавками, предназначенными для отвода стружки и образования режущих элементов. Наклон канавок к оси сверла составляет 10...45° (рис. 4).
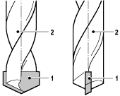
Рис. 4. Наклон канавок к оси сверла Рабочий конец сверла имеет конусообразную форму. На образующих этого конуса лежат две, симметрично расположенные относительно оси сверла режущие кромки. Хвостовик предназначается для закрепления сверла. Спиральные сверла изготовляют с цилиндрическим, коническим шестигранным... хвостовиками (рис. 5). Сверла с цилиндрическим хвостовиком изготовляют диаметром до 12 мм, с коническим - от 6 до 60 мм.
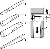
Рис. 5. Хвостовики сверл Лапка - концевая часть сверла (2) - служит упором при выбивании сверла (1) из гнезда конуса (3) посредством клина (4). Спиральные сверла стандартизованы. Поэтому выбирают только такие размеры отверстий, для которых имеется соответствующий диаметр сверла. Основным размером сверла принято считать диаметр. Длина рабочей части сверла, в зависимости от диаметра, составляет: в сверлах с цилиндрическим хвостовиком диаметров плюс 50 мм, а с коническим - 2 диаметра плюс 120 мм. Угол а при вершине сверла (угол между режущими кромками) выбирается в зависимости от обрабатываемого материала и составляет:
Для уменьшения трения боковой поверхности о стенки отверстия с нее снимается фаска. При этом вдоль винтовой канавки получается узкая полоска - ленточка, которая служит также в качестве направляющей сверла. Линия, образованная пересечением поверхностей заточки сверла, называетсяпоперечной кромкой, которая образует с режущей кромкой угол, равный 55°. Величина поперечной кромки принимается обычно равной 0,13 D (где D - диаметр сверла). Кольцевые сверла
Рис. 6. Кольцевое сверло Кольцевое сверло (рис. 6) представляет собой полый цилиндр с режущей кромкой на торце. В результате сверления получают кольцевую канавку. Твердосплавные сверла
Рис. 7. Спиральное сверло, оснащенное твердосплавными пластинами Режущая часть любого из вышеперечисленных типов сверел может оснащаться твердосплавными пластинами (рис. 7). Такие сверла не составляют отдельную группу по конструкции и характеру выполняемой работы. Заточка сверлЧистота просверленных отверстий и высокая производительность при сверлении достигается лишь при условии работы с остро и правильно заточенным сверлом. В процессе сверления режущая часть сверла изнашивается и потому требует систематического восстановления своих геометрических размеров. Восстановление это осуществляется путем заточки. Заточка сверл производится на специальных заточных станках или вручную на абразивных кругах.
Рис. 8. Углы заточки сверла При заточке спирального сверла для сверления стали необходимо получить (рис. 8):
Ручная заточка сверлаПри ручной заточке сверло держат левой рукой за рабочую часть, возможно ближе к режущей части, а правой рукой за хвостовик. Режущую кромку сверла прижимают к боковой поверхности заточного круга и плавным движением правой руки поворачивают сверло, добиваясь, чтобы режущие кромки приняли правильный наклон к оси и требуемую форму. Сильно нажимать на сверло не следует, так как это удлиняет процесс заточки. При заточке сверло нагревается. Во избежание потери твердости заточку надо производить с охлаждением. Режущие кромки правильно заточенного сверла должны быть прямыми. Угол наклона их к поперечной кромке должен быть равным для сверла диаметром до 15 мм - 50°, свыше 15 мм - 55°, а длина поперечной кромки - в 10...20 раз меньше диаметра сверла. При ручной заточке контроль заточки сверл производится визуально. Дефекты заточкиПри ручной заточке сверла возможны следующие дефекты: 1. Длина режущих кромок неодинакова: середина поперечной кромки не совпадает с осью сверла. При этом длинная режущая кромка будет больше нагружена, чем короткая кромка, и скорее затупится. Внешне это часто выражается в виде выкрашивания ее около угла длинной кромки. Кроме того, под влиянием большой нагрузки со стороны кромки длинной кромки сверло будет отжиматься в сторону от оси вращения и отверстие получится большего диаметра, чем диаметр сверла. Чем глубже отверстие, тем меньше будет его точность. Сверло будет <бить> и может поломаться. 2. Режущие кромки заточены под различными углами к оси сверла. При этом середина поперечной кромки совпадает с осью сверла. Так как наклон одной режущей кромки больше, чем второй, то последняя работать не будет. Снимать стружку в этом случае будет только одна кромка. Под влиянием односторонней нагрузки режущей кромки сверло будет уводить в сторону и тем самым увеличивать диаметр отверстия. 3. Два дефекта одновременно. Если после заточки сверла режущие кромки не равны по длине и наклонены к оси сверла под различными углами, то середина поперечной кромки сместится от оси сверла и при работе будет вращаться вокруг оси. Практические приемы сверленияСкорость резанияОдин из основных вопросов техники сверления - выбор наивыгоднейшего режима резания, то есть определение такого сочетания скорости вращения и подачи сверла, которое обеспечивает максимальную производительность. Скорость вращения сверла характеризуется числом оборотов его в минуту. Эта скорость представляет путь, проходимый наружными точками режущей кромки сверла, и измеряется в метрах в минуту. В процессе резания материалов происходит нагревание стружки, обрабатываемого изделия и режущего инструмента. Оптимальная скорость резания при сверлении - это такая скорость, которая обеспечивает высокую производительность при достаточно длительной работе сверла (15...90 минут) без переточки. Практически установлено, что при экономической скорости резания сверло должно работать без переточки:
Допускаемая скорость резания при сверлении зависит: От качества материала сверла. Сверла из быстрорежущей стали допускают более высокие скорости резания, чем сверла из углеродистой стали. От механических свойств обрабатываемого материала. Чем пластичнее материал, тем труднее отводится стружка, быстрее нагревается сверло и понижаются его режущие свойства. Поэтому хрупкие материалы можно сверлить с более высокой скоростью, чем вязкие. От диаметра сверла. С увеличением диаметра скорость резания можно повысить, так как массивное сверло обладает большей прочностью и лучше отводит тепло от режущих кромок. От глубины сверления. Чем глубже просверлено отверстие, тем труднее отвод стружки, больше трение и выше нагрев режущих кромок. Поэтому при прочих равных условиях сверление неглубоких отверстий можно производить с большей скоростью, а глубоких - с меньшей. От величины подачи сверла. Чем больше подача, то есть чем толще сечение стружки, тем скорость резания меньше. От интенсивности охлаждения сверла. Сверло работает лучше при большей скорости резания и малой подаче. Если во время работы сверло быстро затупляется в углах режущей кромки (в начале цилиндрической части сверла), это указывает на то, что скорость резания взята слишком большой и ее надо уменьшить. Если же сверло затупляется или выкрашивается по режущим кромкам, это указывает на то, что подача слишком велика. Затупление и поломка сверла чаще всего происходят в конце сверления сквозных отверстий (при выходе из металла). Чтобы предупредить затупление или поломку сверла на проходе, надо в конце сверления уменьшить подачу. Охлаждение и смазка сверла. Неблагоприятные условия отвода теплоты при сверлении вызывают необходимость охлаждения сверла. При сверлении вязких материалов охлаждение должно быть особенно обильным. Для охлаждения сверла в работе применяют:
Применением охлаждения при сверлении можно повысить скорость резания для стали на 10%, а для чугуна до 40% и получить более чистую поверхность отверстия. Выбор диаметра сверлаВ практике, в зависимости от назначения, встречаются различные виды сверления отверстий, например сквозные (на проход) глухие, под развертку, под резьбу и т.п. Во всех этих случаях для одного и того же номинального диаметра отверстия выбирают сверла различных диаметров. Следует иметь в виду, что в процессе сверления сверло разрабатывает отверстие и делает его несколько большего диаметра. Средними величинами разработки отверстия сверлом (разницу между диаметром полученного отверстия и диаметром сверла) можно принимать следующие:
Для получения отверстий с точным диаметром следует учитывать величину разработки и соответственно подбирать сверло несколько меньшего диаметра. Существуют два способа сверления: по разметке и по кондуктору. Сверление по разметке применяется во всех ремонтных работах, а также в мелкосерийном и индивидуальном производствах. Сверление по кондуктору производится без предварительной разметки и применяется в тех случаях, когда требуется просверлить большое количество одинаковых деталей. Проверка правильности сверленияПредназначенное к сверлению отверстие должно быть предварительно размечено и накернено как по окружности, так и по центру отверстия. Перед началом сверления необходимо прочно закрепить сверло в патроне и жестко закрепить обрабатываемое изделие в соответствующих приспособлениях. Обрабатываемое изделие закрепляют так, чтобы центр отверстия (углубление от кернера) и вершина сверла точно совпадали. Для проверки правильности установки изделия засверливают отверстие на глубину диаметра сверла, а затем осматривают полученную окружность; если она совпадает с накерненной при разметке окружностью, это значит, что установка сверла произведена правильно и сверление можно продолжать. При несовпадении окружности делают соответствующее исправление.
Рис. 9. Крейцмейсель Для этого крейцмейселем (рис. 9) с полукруглым лезвием прорубают канавку с той стороны, куда надо сместить центр сверла, накернивают, исправляют установку детали, добиваясь полного совпадения засверленного отверстия с размеченной окружностью. Причина поломки сверлаПрактикой установлены следующие основные причины поломки сверл: 1) встречая на своем пути раковину, сверло сильно отклоняется в сторону и ломается; 2) если нижняя часть отверстия в изделии ограничена не горизонтальной, а наклонной плоскостью, сверло выходит из изделия неравномерно, застревает в отверстии и ломается; 3) при сверлении глубоких отверстий, когда глубина сверления больше режущей части сверла, канавки, погружаясь в изделия, закупориваются стружкой, при этом сверло сильно нагревается, притупляется и ломается; 4) во время выхода сверла из изделия, то есть в конце сверления, если подача не уменьшилась, а осталась прежней, сверло часто ломается; 5) поломка также происходит при работе тупым сверлом. Зенкование
Рис. 10. Зенковка Зенкование - это обработка выходной части отверстия с целью снятия заусенцев и образования углублений под потайные головки винтов, болтов и шурупов. Инструмент, применяемый для этой цели, называется зенковкой (рис. 10). Зенковки по форме режущей части подразделяются на конические и цилиндрические. Конические зенковки с углом при вершине в 30, 60, 90 и 120° служат для снятия заусенцев в выходной части отверстия и для получения конического углубления в отверстиях под опоры конических головок винтов и заклепок. Цилиндрические зенковки с торцовыми зубьями служат для расширения выходной части цилиндрических отверстий под плоские шайбы, головки винтов, а также для подрезания уступов и бобышек. Способ работы зенковками такой же, что и при сверлении отверстий сверлом, то есть хвостовик закрепляется в патроне и инструменту сообщается вращательное и поступательное движение. Источник информации: Макиенко Н.И. Общий курс слесарного дела. - М. Высш. шк., 1989.
|
